Szanowni koledzy potrzebuję porady, oświecenia, może schematu, wziąłem na warsztat mojego ostatniego Pioniera U2 który czekał na ożywienie, czekał bo obudowa ma z boku znaczne wyszczerbienie, ale nie zwodowałem go bo na skali widnieje SATLINOGÓRD, niestety to jest radio jakiś składak, to znaczy chasis ma nr seryjny 664133, w obwodzie żarzenia jest warystor zamiast opornika 250om, zdaje mi się że ktoś kiedyś podmienił chassis z nowszego instalując je do starszej obudowy i skali, jednak radio ma nieznany mi układ elektryczny, jednak zaznaczam że chasis wygadało na nie grzebane, a na kondensatorze elektrolitycznym wybity był rok 1950 i napis TESLA. Co jest nietypowego, otóż tylko jedna żarówka do podświetlenia skali, w moich wcześniejszych modelach zawsze były 2, nóżka 6 UBL21 (dioda) wisi nie podłączona w powietrzu, i nie ma nawet śladów żeby była kiedykolwiek lutowana, układ pozyskiwania ujemnego napięcie wygląda inaczej niż w wcześniejszych modelach, przejrzałem szereg schematów pionierów U2, patrzyłem na schematy promyków, sonatin, i żaden schemat nie pasuje, może ktoś powie jaki schemat powinien być do tego modelu,. Radio po wymianie kondensatorów już daje oznaki życia, na S coś odbiera, ale na D i K tylko szum i odbierane zakłócenia, niestety napięcie ujemne jest nieprawidłowe, na F1 od p.cz i UCH21 według schematów powinno być -1,8V i zawsze tak było w wcześniejszych modelach naprawianych prze zemnie, a tu jest -0,8V, i zupełnie inaczej jest brane niż w wcześniejszych prze zemnie robionych pionierkach. Może ktoś mnie oświecić o co tu chodzi, bo jestem lekko skołowacony.
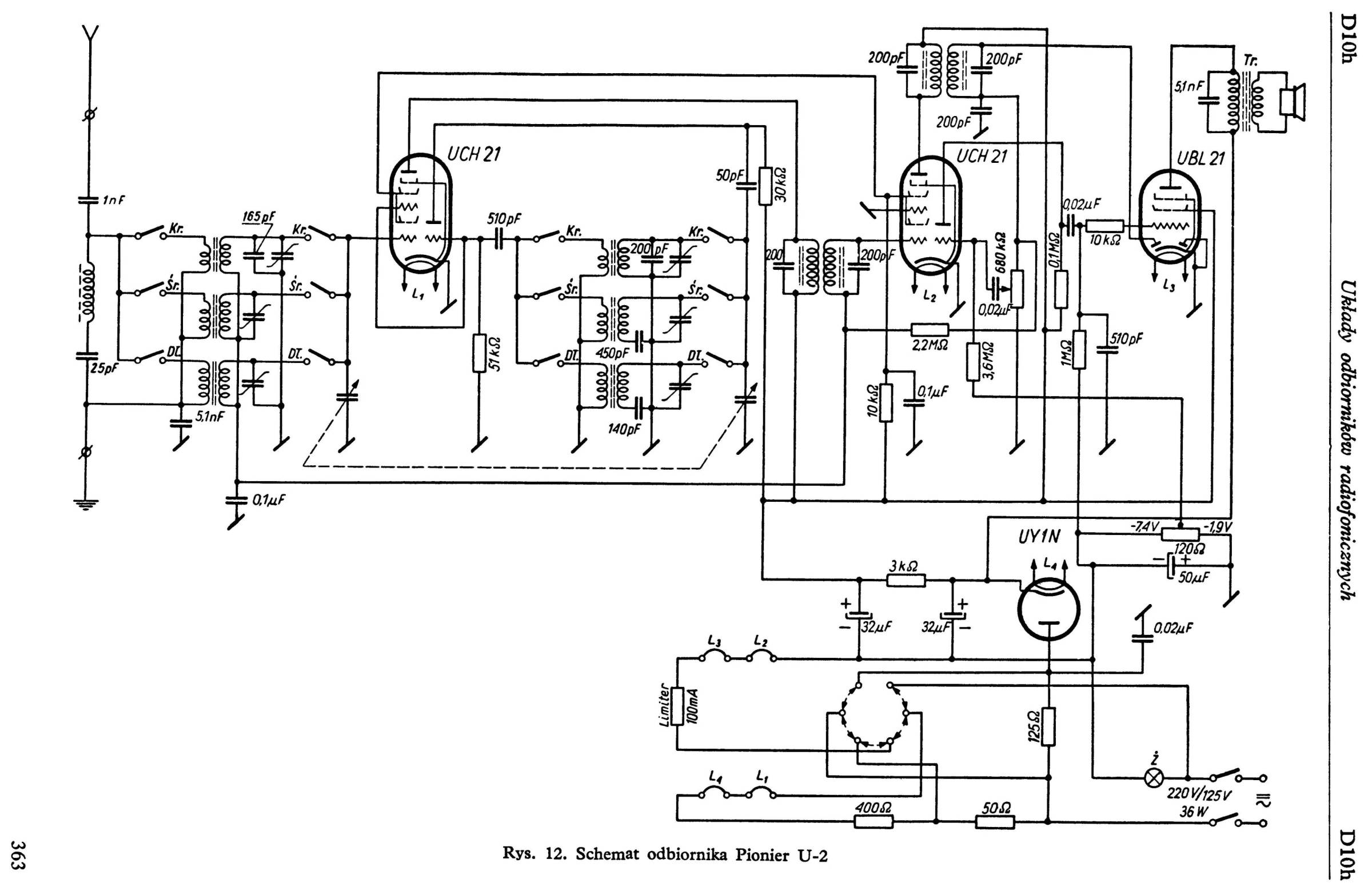
Tu jest schemat Pionierka U2
A tu przerobiony schemat jak wygląda to w moim egzemplarzu
A tu zdjęcie od spodu chasis od lampy UBL21 widać że nóżka 6 wisi w powietrzu i nigdy nie była lutowana
Radio Pionier U2 jeszcze raz
Moderatorzy: gsmok, Romekd, tszczesn, OTLamp, Einherjer
-
walllker
- 625...1249 postów

- Posty: 865
- Rejestracja: wt, 19 czerwca 2007, 20:26
- Lokalizacja: Witaszyce koło Jarocina (Wielkopolska)
Radio Pionier U2 jeszcze raz
Nie masz wymaganych uprawnień, aby zobaczyć pliki załączone do tego posta.
-
OTLamp
- 1250...1874 posty

- Posty: 1345
- Rejestracja: śr, 7 października 2020, 21:02
Re: Radio Pionier U2 jeszcze raz
Pioniery przechodziły tyle modyfikacji, że nie wiem czy kiedykolwiek uzyska się wszystkie schematy. Jedna żarówka skali to żadna rzadkość, spotykałem wielokrotnie. Były też wersje z wykorzystaną tylko jedną diodą detekcyjną, a więc bez opóźnionej ARW. Schemat takiej wersji jest tutaj: https://www.oldradio.pl/images/artykuly ... %C4%85.jpgwalllker pisze: wt, 3 marca 2026, 21:02 Co jest nietypowego, otóż tylko jedna żarówka do podświetlenia skali, w moich wcześniejszych modelach zawsze były 2, nóżka 6 UBL21 (dioda) wisi nie podłączona w powietrzu, i nie ma nawet śladów żeby była kiedykolwiek lutowana, układ pozyskiwania ujemnego napięcie wygląda inaczej niż w wcześniejszych modelach, przejrzałem szereg schematów pionierów U2, patrzyłem na schematy promyków, sonatin, i żaden schemat nie pasuje, może ktoś powie jaki schemat powinien być do tego modelu,.
Twój egzemplarz wygląda na miks powyższej wersji z wersją z ARW z progiem działania - zostawili elementy mostka detekcyjnego wraz z elementami towarzyszącymi, ale nie wykorzystali drugiej diody. Trochę to dziwne, bo oszczędność na elementach praktycznie żadna.
Ale -1,8 V to jest prawidłowe napięcie w wersji z ARW z progiem działania, bez sygnału, na siatkach jest wtedy potencjał diody pracującej jako opóźniona ARW. W Twojej wersji nie ma prawa tam być takiego ujemnego napięcia, bo bez sygnału siatki są praktycznie połączone z masą. Niewielkie ujemne napięcie powstaje z prądów wybiegu poszczególnych lamp.walllker pisze: wt, 3 marca 2026, 21:02 według schematów powinno być -1,8V i zawsze tak było w wcześniejszych modelach naprawianych prze zemnie, a tu jest -0,8V, i zupełnie inaczej jest brane niż w wcześniejszych prze zemnie robionych pionierkach. Może ktoś mnie oświecić o co tu chodzi, bo jestem lekko skołowacony.
-
ballasttube
- 3125...6249 postów

- Posty: 3669
- Rejestracja: czw, 25 marca 2010, 00:12
Re: Radio Pionier U2 jeszcze raz
Witam.
Potwierdzam opinię Kolegi "OTLamp".
Też mam takie chassis, nabyte kiedyś
tanio po poważnym pożarze wnętrza.
Czeka na swoją kolej.
Chciałbym je odpalić, bo mam już
swoje lata.
Ten schemat z wykorzystaniem
jednej tylko diody detekcyjnej
się zgadza z tym przypadkiem.
Termistor też to potwierdza,że
jest to chassis późnej wersji.
Żaróweczka jest na 12V, oryginalna
była na 0,225A. Teraz przy 230V
w sieci można chyba dać taką
na 0.3A?
Ponadto rozwarłbym zwierany
dla 220V opornik 50 omów
i będziemy mieli 225V spadku,
bliżej 230V.
Ważne dla lamp.
Pozdrawiam.
Jacek"b/t"
Potwierdzam opinię Kolegi "OTLamp".
Też mam takie chassis, nabyte kiedyś
tanio po poważnym pożarze wnętrza.
Czeka na swoją kolej.
Chciałbym je odpalić, bo mam już
swoje lata.
Ten schemat z wykorzystaniem
jednej tylko diody detekcyjnej
się zgadza z tym przypadkiem.
Termistor też to potwierdza,że
jest to chassis późnej wersji.
Żaróweczka jest na 12V, oryginalna
była na 0,225A. Teraz przy 230V
w sieci można chyba dać taką
na 0.3A?
Ponadto rozwarłbym zwierany
dla 220V opornik 50 omów
i będziemy mieli 225V spadku,
bliżej 230V.
Ważne dla lamp.
Pozdrawiam.
Jacek"b/t"
-
walllker
- 625...1249 postów

- Posty: 865
- Rejestracja: wt, 19 czerwca 2007, 20:26
- Lokalizacja: Witaszyce koło Jarocina (Wielkopolska)
Re: Radio Pionier U2 jeszcze raz
Bardzo koledzy dziękuję za odpowiedź, że to moje radio, to jakaś hybryda, to się domyślałem, nie wiedziałem, że w pioniera cały czas coś zmieniali, a za link do schematu dziękuję, ten prawie pasuje, minimalne różnice, zobaczymy jak pójdzie dalszy rozruch.
Ostatnio zmieniony śr, 4 marca 2026, 10:23 przez Romekd, łącznie zmieniany 1 raz.
Powód: literówki
Powód: literówki